Elon Musk quer que o seu próximo Tesla Model Y seja um carro elétrico muito mais eficiente e rápido de fabricar do que os seus modelos atuais e já está a trabalhar para atingir os seus objetivos de reduzir os seus processos de fabricação.
No momento, ele registou uma patente um pouco estranha: um processo de fabrição através do qual o chassis Tesla Model Y pode ser fabricado praticamente numa única peça.
Esta patente foi descoberta pela Electrek e revela que, salvando distâncias, parece um tipo de impressora 3D para chassis de carros elétricos. Mais especificamente, e de acordo com a Tesla em si é uma máquina de fundição multidirecional para o quadro monocoque de um veículo e métodos associados.
Como a fundição geralmente envolve custos mais elevados em relação a outros processos de fabricação e fundição, incluindo a montagem de muitos componentes individuais, há a necessidade de uma máquina de fundição sob pressão aperfeiçoada e dos seus métodos associados, particularmente em relação à fundição da estrutura de um veículo que reduz o trabalho necessário para alcançar o produto final.
A solução desenvolvida pela Tesla é criar uma máquina grande com várias peças de punção que estão num ponto central. Um sistema que, curiosamente, foi projetado por Matt Kallas, um ex-funcionário da Tesla que agora traz a sua vasta experiência em processos de fabrição na empresa GF Linamar.
De acordo com a descrição que o seu criador faz no registo de patente, o projeto da máquina possui um núcleo central e quatro matrizes com sistemas de ejeção. Essas quatro unidades de estampagem estão configuradas para ficar no centro, de modo que formam uma cavidade de molde correspondente a uma parte do chassis do carro em questão.
Com esse processo, a Tesla acredita que “reduzirá o tempo de construção, os custos operacionais, os custos de fabricação, a pegada ambiental da fábrica, os custos operacionais da fábrica, os custos de ferramentas e/ou a quantidade de equipamentos”.
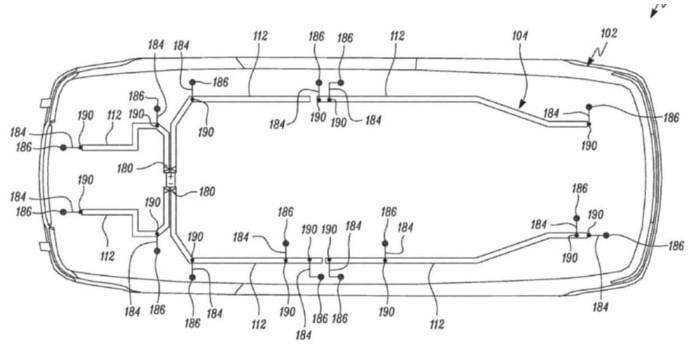
O fabricante norte-americano ressalta que, com este sistema, um chassis monocoque “completo ou quase completo” pode ser construído, o que reduzirá a quantidade de máquinas de fundição necessárias para construir o chassis de um carro. Por outro lado, a Tesla também registou uma nova arquitetura de cableado, que permite a redução de materiais (menos cabos), além de facilitar processos automáticos para efetuar a sua instalação.
Com este sistema, a cablagem do Tesla Model Y é reduzida para 100 metros de comprimento, em comparação com os 1,5 quilômetros medidos pelos do Modelo 3 ou os 3,0 quilômetros do Modelo S. De acordo com a Tesla, além de reduzir a quantidade de cabos necessários, este processo também reduzirá os tempos de produção, o que terá como consequência uma melhoria de produtividade.
VerdeSobreRodas, o ponto de encontro com a mobilidade sustentável
Postagem: Próximo Tesla Model Y deverá ser mais eficiente e rápido
Publicado no Verdesobrerodas
Por Portal Energias Renováveis conteúdo




Nenhum comentário:
Postar um comentário